Missing trim piece, what's this called?
Thread Starter
Registered User
Joined: Aug 2006
Posts: 14
From: cupertino, ca
Car Info: wrx soon hopefully
Missing trim piece, what's this called?
I just noticed tonight that it looks like I'm missing a trim piece. Not sure how it would have fallen off ... is it wrong for me to assume someone stole it? Either way, I would like to get this back installed. It looks like there's 2 clips remaining in there, when I buy the piece, does it come with the clips (so I just need to remove the clips and shove the new one in), or what kind of install would this be, I'm assuming super simple.
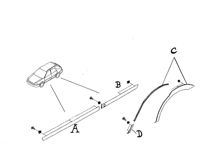
Does anyone know what this part is called when I call the dealer about parts availability, or better yet anyone have a part number and estimates on cost? It's the little black plastic trim piece above the side skirt in front of the rear wheel well, drivers side.
See the pic with it missing (sorry for the quality, all I had was my phone):
Does anyone know what this part is called when I call the dealer about parts availability, or better yet anyone have a part number and estimates on cost? It's the little black plastic trim piece above the side skirt in front of the rear wheel well, drivers side.
See the pic with it missing (sorry for the quality, all I had was my phone):
Last edited by uclagee; Jun 17, 2009 at 01:02 AM.
He needs this small black 10 dollar piece "Item D", located in the following link. Part No: 91022FE010
http://www.subarupartsforyou.com/cp_...hp?partid=8476
See the small black piece in front of the rear tire and above the side skirt.
WRXBBSProfile_001EMAIL.jpg?t=1245310967
Last edited by C89ZX7R; Jun 18, 2009 at 12:50 AM.
Thread Starter
Registered User
Joined: Aug 2006
Posts: 14
From: cupertino, ca
Car Info: wrx soon hopefully
wrx1020 - thanks for the reply, but not the exact part... you can blame my bad picture taking and angle and description
C89ZX7R - that's what i'm looking for. once again due to my bad picture taking/angle/description, i guess i should have mentioned this was for a '04 wagon, but once i got the part # from your post -- was able to use google and found a nasioc post that referred to these parts... so i got exactly what i was looking for : 91022FE030, and apparantly i'll need 2 plastic clips (909140023) as well.
this was the nasioc post i mentioned:
http://forums.nasioc.com/forums/showthread.php?t=984710
thanks everyone for their help!
C89ZX7R - that's what i'm looking for. once again due to my bad picture taking/angle/description, i guess i should have mentioned this was for a '04 wagon, but once i got the part # from your post -- was able to use google and found a nasioc post that referred to these parts... so i got exactly what i was looking for : 91022FE030, and apparantly i'll need 2 plastic clips (909140023) as well.
this was the nasioc post i mentioned:
http://forums.nasioc.com/forums/showthread.php?t=984710
thanks everyone for their help!
You really didn't even need to go to google. The site has 90 percent of the parts on it.
http://www.subarupartsforyou.com/cp_...hp?partid=8477
Atleast there cheap
http://www.subarupartsforyou.com/cp_...hp?partid=8477
Atleast there cheap
Thread
Thread Starter
Forum
Replies
Last Post
shazaam
Interior, Exterior & Lighting
1
Mar 4, 2008 04:47 PM




